移动影像的下半场,需要什么样的引路人?
既是答案
也是题目
如果说旗舰手机有什么兵家必争之地,那么影像一定榜上有名。
前阵子,知乎研究院发布了一份《中国高端手机影像趋势与用户洞察》报告,其中提到超过九成的高端手机用户,在购机时会重点考察手机的影像能力。
手机移动影像的上半场,说是硬件参数的军备竞赛也不为过——从给手机装上摄像头,到给手机装上更多的摄像头,焦段由远及近,视野由窄变广,传感器尺寸也从行车记录仪的水平到了超越卡片机的一英寸底……
但手机终归是随身携带的产品,留给影像系统的空间有限,当手机塞不下更多的摄像头、更大的传感器时,移动影像的上半场,也就戛然而止了。
那么,移动影像的下半场,拼什么?
移动影像的下半场,是既要又要还要
熟悉手机行业的读者可能会发现,前两年主流的一英寸主摄方案正在退潮,取而代之的,是 1/1.3 英寸或 1/1.5 英寸的方案。
一方面,当然是为了控制成本,但另一方面,也是因为一英寸主摄的存在,注定充满了权衡——
手机作为消费电子的皇冠明珠,其含金量便是在有限的机身空间里,塞进足够多的核心零部件。具体到影像方面,要在用户能接受的厚度内,塞下一英寸主摄,那么留给超广角或长焦镜头的空间,必然要有所妥协。
问题是,当移动影像发展到今天,一英寸的大底主摄已经不是唯一解,长焦和超广角镜头同样重要。
这就是移动影像上的电车难题——是选择一颗更好的主摄镜头,还是选择装上更多镜头,但有所妥协?
移动影像的下半场,就是回答这个既要又要还要的难题。
已经有不少厂商提出了自己的解法,而华为显然是其中最值得关注的那个。
去年,华为Pura 70 Ultra 在风向标影像模组中,藏了一支可伸缩的镜头,让一英寸大底主摄和纤薄机身之间的单选题,变成了影像旗舰既要还要。
这也是为什么,我对即将发布的华为Pura 80系列有所期待。
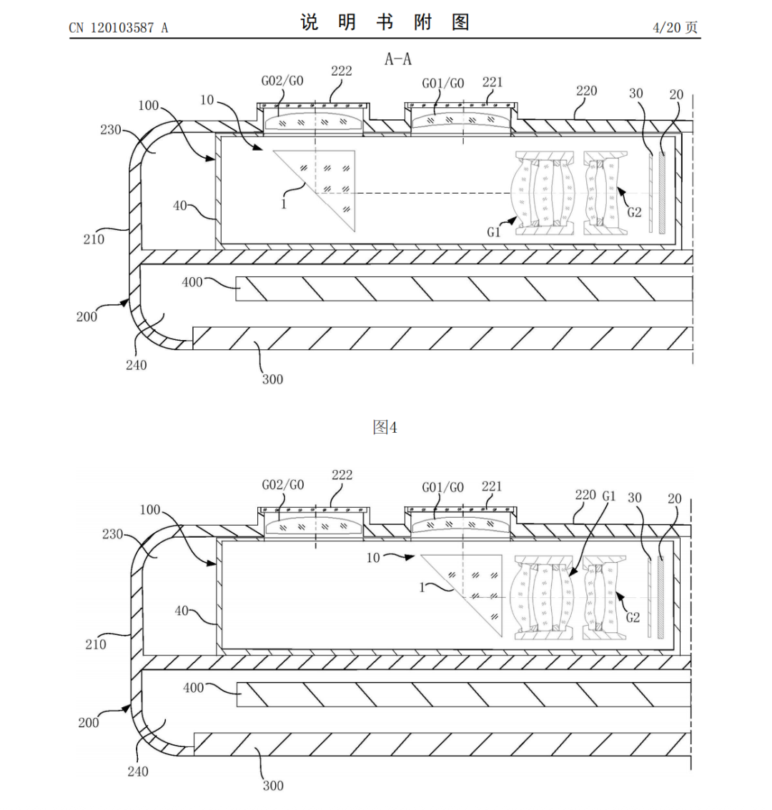
最近一周里,华为Pura 80系列的信息已经从各种渠道密集曝光,其中反复提及一个关键词——一底双长焦。
华为最新公开的专利,为这一观察提供了关键佐证:两颗潜望式长焦镜头,通过移动潜望镜模块,共享一个 CMOS 传感器。
说直白点,比起手机,这更像相机。
众所周知,手机是不能像相机那样灵活更换镜头的。
通常情况下,一颗镜头就对应着一套光路、一块传感器,在寸土寸金的机身内,放入更多摄像头,就意味着光路设计越复杂,单个传感器面积也就越小。所以才会出现,我们在切换手机镜头时,画质会糊、会偏色、会有位移——拍出来的照片,更会有不同程度的妥协。
遇到难以企及的超远焦段时,那就只能裁切画面来实现变焦,画质也就难以保证。
那么,华为这项新技术,好在哪?
显而易见的好处,就是打破了传统手机一颗镜头对应一块传感器的限制,为大底 CMOS 腾出空间,所谓「底大一级压死人」,传感器面积越大,画质上限也就越高。
从宣传片看,其中一颗很可能为 10 倍潜望长焦
华为还有一项专利相当有趣:斜置 CMOS。
通过将传感器在模组内斜向放置,进一步有效压缩模组整体体积,维持手机纤薄的同时,还为光学防抖组件提供了更充裕的位移空间。
这两项专利,是实现「既要又要还要」的技术手段,是螺蛳壳里做道场的硬功夫,是移动影像领域从没有出现过的新解法。
在寻找最新解的同时,追求最优解,这就是移动影像下半场的最终解答。
面向新十年,华为影像的一体两面
自 2015 年的华为P8,华为便开始探索移动影像的可能。
在这台手机上,华为带来超级夜景模式,通过 AI 防抖,解决了暗光环境下成像素质差、手抖等难题;
次年,华为P9 别出心裁的黑白彩色双摄,带来细腻的中间调,将移动影像的照片质感带到一个新高度;
2017 年,除了我们熟悉的华为P10,还有一场日后声量浩大、举足轻重的盛会拉开帷幕——华为影像大赛。
从一开始,大赛便超越了单纯的竞技层面,成为了一个全球创作与交流的平台,通过多元赛制和评选机制,鼓励全球用户以手机镜头讲述丰富多样的故事和个人情感。
历经八届,这场影像盛事已吸引全球 170 余个国家和地区的创作者踊跃参与,累计近 500 万件作品如时代切片般涌现,如此庞大的参与度和作品量,使华为影像大赛迅速成长为全球最具规模与文化影响力的影像赛事之一。
这些鲜活的创作,如同源头活水,帮助华为洞察全球用户的审美需求与情感表达,并为华为在理解影像本质、推动技术迭代以及塑造华为影像理念方面提供了最宝贵、最直接的参考,一步步成为华为建立影像哲学和认知时,不可或缺的基石。
当然,华为在移动影像的探索也没有停止脚步——
2018 年,华为P20系列首发了超级夜景模式,并搭载了三摄系统,为日后影像竞争树立了硬件标杆;
次年,华为P30系列引入超感光传感器及潜望式变焦镜头,以高倍变焦实现清晰拍月;
进入 2020 年,P40系列进一步将光学变焦范围推进至十倍;随后,2021 年的华为P50 系列,采用了超级双影像单元与原色引擎,并推出「计算光学」;
2022 年,当 P 系列在影像之路上持续沉稳蓄力之际,一个对华为影像具有里程碑意义的战略布局悄然完成——全新的自研影像品牌 XMAGE 正式问世。
这个影像品牌将移动影像归纳为一个完整的系统工程,也是完整的哲学体系,核心理念包含了四个维度——软、硬、芯、云
软:多管线的算法支持
硬:多种类、多用途的硬件配置
芯:高效而可靠的算力支撑
云:基于云端的 AI 处理方案
四个维度,是华为对以往如今的审视与归纳,也是面对未来移动影像发展方向的敲定。
至此,连绵近十年的技术创新与数届影像大赛积攒的文化底蕴共鸣,催生了 XMAGE 影像品牌的诞生,组成了华为对影像的全部理解,成为华为影像的一体两面。
而华为Pura,则是在一体两面的理解下,专为影像而生的品牌——从华为P8 开始延续的影像探索之路,到华为Pura 70 Ultra 的可变结构长焦模组,每一代产品都在解决一个具体的拍摄难题,围绕「如何拍得更好」这个问题展开。
这种对影像不妥协的追求,与当下行业内寻求设计、成本与体验的平衡,而在影像硬件配置上有所取舍与保守的主流路径,形成了鲜明的战略分野。
这种战略差异,最终会由市场表现给出反馈——
根据市场调研机构 Counterpoint 的数据,华为在今年一季度重夺中国市场桂冠。
更直接的数据是,作为华为「不妥协」影像哲学的集大成者,Pura 70系列的发货量突破了 1300 万部。
作为继承者,Pura 80 也一样,它不是在跟随行业趋势,而是在自建路径,重压影像、结构创新、算法迭代、系统协同,一步步把影像从「拍得到」推进到「拍得好」。
Pura 80 没有含糊的定义,没有拐弯抹角的宣传,它的技术路径清晰、品牌态度明确。
移动影像领域的强者,从来不是因为跟得上,而是因为走在前。
传统摄影的百年精髓已经被广泛转化到手机影像系统中,但如果仅限于经验复刻,便容易陷入拿来主义的误区,只见形式,不见神采。
移动影像想要更进一步,必须直面独属于它自己的难题——
如何在极度受限的机身内塞进更多技术?
怎么制造更大尺寸的传感器?
怎么集成更泛用更优质的镜头群?
……
这些皆是移动影像专属的「无人区」,鲜有其他领域成熟经验可直接移植。
这是硬件层面最直观、最基础的挑战。
更进一步地说,如今的手机影像体验,早已超越了单纯硬件参数堆砌所能驱动的范畴。
异构的光学模组、复杂的算法架构与不断进化的 AI 系统,如何有机地整合为一套高效协同的影像系统,最终转化为用户手中每一个顺畅、舒适、乃至惊艳的拍摄瞬间,才是真正的系统级难题。
其精妙之处,就像轮扁斫轮,这种难以量化的调教,往往带有一定的艺术性和经验性,难以复制,亦无捷径可循。
华为终端 BG 首席运营官何刚早在 XMAGE 影像品牌推出时,便已指明了破局的理念与方向:
华为和徕卡的合作过程中,双方是互相成就的。但面向未来,能够看到传统影像和移动影像的差距,使得我们认为要持续构建自己的能力,才能迈向未来。所以我们发布了华为影像 XMAGE,代表华为坚定的选择,是「以我为主」构建自己的能力。
三年积淀,「以我为主」的影像探索之路,即将在华为Pura 80系列迎来又一次关键印证。
华为Pura 80系列,正立于承前启后的关键节点,它的背后,是百年传统影像的阵阵回音;它的面前,是移动影像彻底挣脱传统,迈向真正独立叙事、开创全新视觉疆域的广袤无人区。
移动影像的下半场,需要一位解题者,更需要一个引路人。
我们希望看到更多既要又要的野心,这代表一种不妥协,也代表了王座空悬,而王者即将归来。
(来源:新浪科技)
















