三星专利探索模块化手机,可更换镜头组件
IT之家5月2日消息,科技媒体91Mobile于4月30日发布博文,报道称三星获批一项新专利,探索一款配备可更换镜头组件的电子设备。
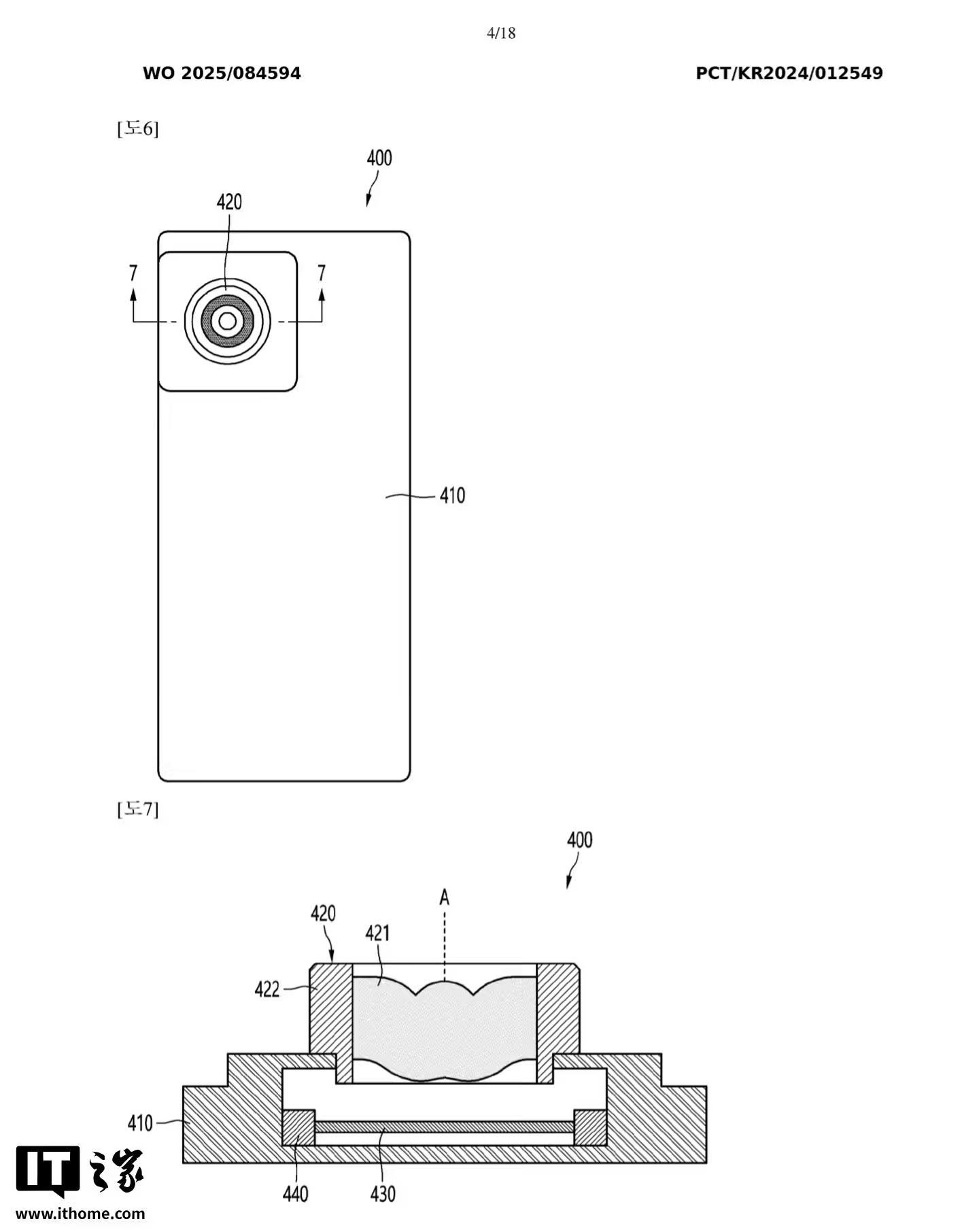
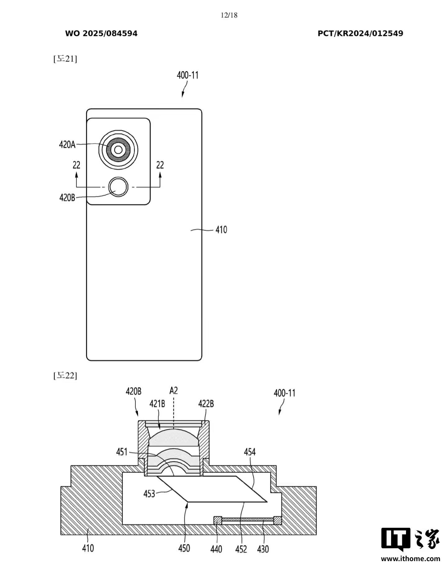
设计包含设备外壳、可更换的镜头组件、图像传感器以及驱动器(actuator),驱动器负责沿第一光轴前后移动镜头或传感器,用于对焦或变焦,同时还能上下移动以实现防抖或对齐功能。
在设计中,驱动器安装于设备外壳而非镜头组件上,这种布局节省空间并简化结构。设备可能配备多个独立运作的驱动器,根据拍摄对象距离或设备角速度等因素调整镜头位置。
此外,设备还能通过多种方式识别所连接的镜头类型,例如读取镜头内的磁铁、RFID 标签,或依靠反射器和电阻器完成识别。一旦确认镜头类型,处理器会自动调整光圈值(F-number)及初始镜头或传感器位置等参数。
除了镜头组件,这款设备的外壳还可能支持其他可更换配件模块,例如额外显示屏、闪光灯、电池、风扇、指南针甚至手表模块。
然而,目前所有设计仍处于概念阶段,实际应用效果尚不明朗。三星此举显示出对模块化设备的浓厚兴趣,未来是否能推向市场,仍需拭目以待。
(来源:新浪科技)




